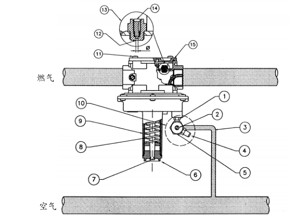
MADAS AG/RC空燃比例调节方法:
燃气/空气比例调节:1:20设定:空气压力:0-400mbar
燃气压力:0 -20mbar
1.先将图示中②螺丝拧紧,关闭气源。
2.调节伺服马达。空气压力设定在400mbar。
3.慢慢拧开图示中②螺丝,然后调节图示中⑦调节螺丝,使燃气出口压力设定在20mbar;
(在压力表上可读出)。这样整个设定结束。当空气压力在0- 400mbar变化时,燃气压力在0-20mbar之间。
旁路孔的选择:
旁路流量取决于图示中的②孔径。φ从1.5mm-3.5mm。使用旁路时,先用螺丝刀拧开图示中①螺丝,取下底盖⑤,然后用螺丝刀逆时针拧开④,重新安装底盖。

如有需要进一步咨询,欢迎来电:021-34679016 技术支持:13321958622 (微信同号)
公司网址:http://www.shyinchi.com.cn